ВМФ России разработал уникальный беспилотник в форме торпеды.
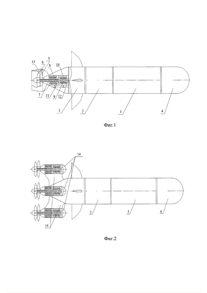
В России запатентован автономный необитаемый подводный аппарат модульной конструкции с обтекаемой гидродинамической формой.
Разработка создана спецами из Черноморского высшего военно-морского ордена Красной Звезды училища имени П. С. Нахимова Минобороны России. Новинка предназначена для проектирования и производства подводных аппаратов с улучшенными движительными характеристиками и меньшим энергопотреблением.
Технический результат полезной модели достигается за счет модульной архитектуры и гидродинамической формы, содержит движительный модуль, модуль управления и связи, батарейный модуль и носовой модуль,
— говорится в описании к патенту.
Устройство также оснащено двумя гребными винтами противоположного вращения и двумя последовательно расположенными электродвигателями.
Федеральный институт промышленной собственности представил фотографию проекта.
#ВМФ #БПЛА #Вооружение






































