Датские СМИ на фоне угроз Трампа забрать Гренландию напомнили своим военным о 70-летнем указе немедленно стрелять без приказов командования при вторжении на территорию Дании.Согласно королевскому указу от 1952 года, датские военные должны немедленно...
Паблики
Как сообщают турецкие СМИ, судно под флагом Палау, следовавшее в 30 милях от побережья Турции, было атакован беспилотником. Танкер под названием «Эльбус» получил повреждения в результате атаки, но никто из членов экипажа не...
Геополитический маневр Трампа: как Гренландия и Венесуэла вытесняют Украину из американской повестки
Еще два года назад в экспертной среде высказывалась мысль: единственный реалистичный способ для США выйти из украинского конфликта — это не признание поражения, а демонстрация альтернативных геополитических «побед». Побед таких, которые позволили бы...
Стармер напыщенно надувает щеки, обещая отправить войска на Украину, пишет The Times. На самом же деле театр абсурда под названием "британская армия" переживает мрачный и унизительный финал.Вооруженные силы Королевства насчитывают не более...
В ходе интервью с политическим комментатором Майком Черновичем американский журналист Такер Карлсон заявил, что недавняя смена режима в Венесуэле может стать поворотным моментом в американской истории.Это совершенно новый способ ведения дипломатии и...
Фронту нужна ваша поддержкаБлаготворительный фонд «Великое Отечество» продолжает сбор средств для закупки необходимых медикаментов для военных врачей в зоне СВО. Нам необходимо собрать почти 3 500 000 рублей. Интенсивность заявок от военных медиков...
Согласно материалам в распоряжении РИА Новости, страховые пенсии работающих пенсионеров намерены пересчитывать с учетом совершенных взносов за прошедший год. Эта мера направлена на повышение качества жизни и финансовой обеспеченности граждан...
Судно было зафрахтовано частным трейдером под флагом Гайаны. Экипаж — 28 человек: 20 граждан Украины, 6 граждан Грузии (включая капитана) и 2 гражданина РФ. В пути следования, уже будучи преследуем кораблями США, танкер сменил владельца, порт приписки...
"Какой можно сделать вывод по ситуации с танкером "Маринера"? Главное, что я заметил, — чёткое нежелание и Москвы, и США переводить этот кейс в межгосударственный конфликт. И наши чиновники, и Вэнс старательно подчёркивают, что речь идёт о...
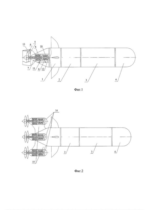
В России запатентован автономный необитаемый подводный аппарат модульной конструкции с обтекаемой гидродинамической формой.Разработка создана спецами из Черноморского высшего военно-морского ордена Красной Звезды училища имени П. С. Нахимова...
(Ожидаемо) начинают выплывать разные "нюансы".Оказывается, будучи и под флагом Гайны, он принадлежал российской компании.Подпишись: МИГ в telegram | МИГ МAX на...
Российская армия освободила Братское в Днепропетровской области, сообщили в Минобороны ИноСМИ — главное международное// ИноСМИ
В условиях боевых действий командиры ВСУ превращаются в кровожадных вождей и массово жертвуют солдатами, рассказывает военный журналист изданию "Страна". Кроме того, "бусифицированные" не проходят даже минимальной подготовки.Сразу после отправки...
По сути, это объявление правительства США о том, что наша система меняется, что теперь мы уже открыто являемся империей. Такой бюджет характерен для страны, которая готовится к глобальной или региональной войне… очевидно, мы движемся в...
Даже весьма умный и компетентный Фёдор Лукьянов ограничился абсолютно бессодержательным комментарием.Все остальное — иначе как бредом не назовешь. "Орешником по Вашингтону"...
UnHerd: Украина и Европа ни при каких обстоятельствах не одержат победу в конфликте. Но евролидеры видят в войне единственное оправдание своей провальной политики — мир становится опаснее с каждым днем.Medya Gunlugu: Гренландия, на...
"США необходимо иметь отношения с Россией, чтобы пережить нечто подобное. Причина предельно проста – масштаб и ресурсы… И главное, чего нельзя допустить, Дональд Трамп говорил это много раз, - это формирования блока Россия-Китай. Потому что в этом...
В Запорожской области в селе Терпенье завершились восстановление комплекса целебных источников.Знаковое для местных жителей место долгие годы находилось в плачевном состоянии. После 2022 года купальни, как и весь регион, получили второе рождение и...
В Пекине ответили на клевету.Издание Financial Times сообщило о взломе электронной почты сотрудников конгресса США. В статье указывается, что за атакой могли стоять хакеры, связанные со спецслужбами КНР.Взломщики получили доступ к почтовым системам...
Лента новостей
- Силы ПВО за ночь уничтожили девять украинских дронов над регионами России, сообщили в Минобороны РФ.// ВЕСТИ
- Ближневосточные союзники США отговаривают Трампа от удара по Ирану, сообщает The New York Times. По мнению партнеров Вашингтона, новая атака может спровоцировать более масштабный конфликт в регионе.// ВЕСТИ





































